Terug naar hoofdinhoud

LUXMAN
L-114

Luxman L-114a open voor reparatie

Klacht:

Doet niet veel meer. Lampjes defect, Linker kanaal defect, alle potmeters kraken.

Printplaat van Luxman L-114 versterker

Diagnose:

  1. Eindtransistoren defect
  2. Condensatoren wisselend in kwaliteit. (Bizar dat sommigen nog zo perfect in waarde zijn en andere enorm afwijken.)
  3. Transistor Q207 heeft een veel te lage hFe. 
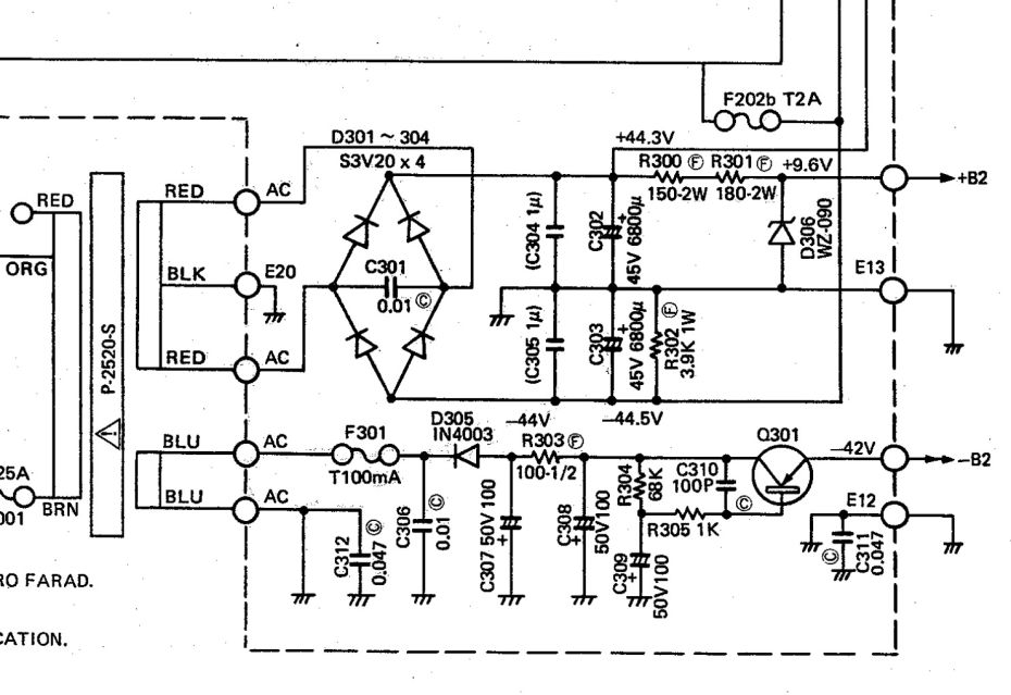
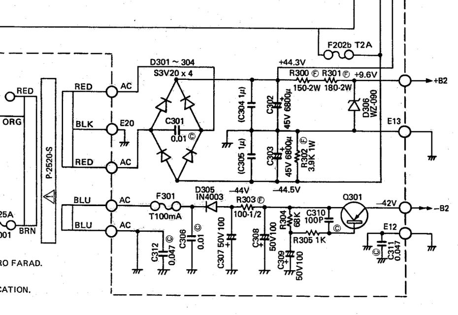
  4. De lampjes zijn een bijzondere schakeling van een zenerdiode en dikke weerstanden. 
  5. Alle potmeters en schakelaars zijn extreem vuil.
Versterker schema
Hoge voedingsspanning voor lampjes

Reparatie:

  1. Q209 en Q210 vervangen
  2. Na deze vervanging werkte het kanaal wel weer maar had last van enorme vervorming.
  3. Q207 heeft een lage hFe en bleek de boosdoener. Deze ook vervangen.
  4. Alle elco's vervangen en voor C201 een WIMA MKS genomen.
  5. Lampjes vervangen door LED's. De aansturing kan hiervoor aangepast worden. De originele R300 en R301 en D306 kunner eruit. Deze hebben aardig wat vermogen moeten verstouwen waardoor de print erg donker is geworden.
  6. Om een 2.2V led op 44V aan te sluiten is er nogal wat weerstand nodig. 

Eindoordeel:

Deze PGA TA2022 klasse D versterker is een prachtige zelfbouw kit van de leverancier AUDIOPHONICS. De kit is rond 2012 aangeschaft en geheel volgens de norm opgebouwd. Opvallend is de hoge kwaliteit aan onderdelen. Een mooie voorversterker met relais gestuurde ingangsselectie. Twee hoogwaardige ringkern transformatoren en een prachtige Class D eindversterker. Deze eindversterker heeft 12 stuks 1200uF Elco’s en twee hoogwaardige MKP Condensatoren. Een goede luidsprekerbeveiliging en 90 echte Watt’s versterking.

Enkele kenmerken:

  • Enclosure with aluminum front 3mm Black
  • Operation with ON / OFF button illuminated with a Blue Halo
  • Signal input on 24k gold-plated RCA headers
  • Outputs on HP High Quality 24k Gold plated terminals and accepting cables of large cross section, as well as forks and banana plugs
  • IEC anti-interference power connector with built-in EMI filter Capacitors
  • Panasonic FC 12x1200μF & MKP
  • Inputs: 4 stereo RCA input
  • Control: input selection and volume control
  • Output Power per Channel: 60W / 8Ω (0.1% THD + N) 90W / 4Ω (0.1% THD + N) ²
  • Total Harmonic Distortion Rate: 0.015% at 45W 8Ω 0.015% to 70W 4Ω
  • Intermodulation Distortion Rate (SMPTE): 0.10% to 25W 4Ω
  • Dynamic Range: 102dB
  • Yield: 92% to 88W / 8Ω 87% at 125W / 4Ω Power
  • Supply: 150VA Toric Transformer (2 x 24V + 9V + 12V)
  • Dimensions:435 x 300 x 120 mm (L x W x H)
  • Weight:7.2 kg

Klank:

Class D versterkers winnen steeds meer terrein. De eerste generatie was voornamelijk bedoelt als hoog rendement (auto) versterker waarbij de kwaliteit van onderschikt belang was. Inmiddels zijn er prachtige klasse D versterkers ontwikkeld en hebben de grote merken ook mooie versterkers in hun assortiment. Deze zelfbouw Audiophonics is een mooi voorbeeld van hoge kwaliteit tegen een lage prijs. De complete set had een prijs van €350. 
De versterker klinkt totaal niet zoals ik had verwacht. Ik had een koud en digitaal geluid verwacht maar werd aangenaam verrast door zijn muzikaliteit. Hij klinkt strak, muzikaal, helder, eerlijk en zelfs warm. Een aanrader!!